Гуковский М.А. Механика Леонардо да Винчи, 1947

Предыдущая страницаСледующая страница

Часть четвертая. МЕХАНИКА ЛЕОНАРДО ДА ВИНЧИ - Глава 3. ВЕС И РЫЧАГ

§ 6. Приложение закона рычага - наклонный стержень

Естественным и, можно сказать, почти неизбежным продолжением работ Леонардо над нитью, оттянутой висящим на ней грузом, являются его работы над балкой, висящей на двух нитях. Проблема эта разбивается им на три части.

Первой, наиболее простой, является вопрос: как распределяется вес балки на две параллельные нити разной длины, поддерживающие концы ее. Впервые этот вопрос Леонардо ставит в ранней записи кодекса "А", ставит (как обычно он это делает в своих ранних записях) чрезвычайно конкретно, на техническом примере, без какого бы то ни было теоретизирования.

"Если 2 человека несут балку наверх по лестнице и если дерево этой балки имеет равномерную толщину и вес, то точно столько же будет чувствовать его вес тот, который поддерживает его вес внизу, как тот, кто поддерживает его наверху, и если все бревно стремится упасть к центру, то все части его имеют то же самое стремление и, стремясь падать вертикально (a piombo), дают вышеприведенный результат (А. 52 v.) (рис. 158).

Таким образом, Леонардо дает сразу же совершенно точный и правильный ответ на свой вопрос: балка, подвешенная наклонно на двух параллельных нитях, равно нагружает обе эти нити. Вполне четко формулирует Леонардо это утверждение в несомненно ранней записи "Атлантического кодекса", где он дает его без доказательства:

"Та балка, которая будет укреплена за свои концы и будет подвешена на нитях разной длины, будет всегда отдавать равную часть своего веса каждой из двух нитей, если они падают перпендикулярно к месту, в котором они привязаны" (С. А. 273 r. а.).

Из рисунка, сопровождающего запись, видно, что Леонардо, как обычно, пришел к своему утверждению через эксперимент, техника которого видна из также ранней записи кодекса "С":

"При подвешивании тела длинной формы, равномерной толщины и веса за свои концы на двух нитях, укрепленных на концах равных плеч весов, весы останутся в горизонтальном положении, несмотря на разную длину нитей. Причина этого тa, что если ты проведешь вертикально линию, проходящую под центром весов, то эта линия пройдет также через центр Одержанного веса" (С. 7 v.) (рис. 159).

При подвесе балки за концы вопрос разрешается, таким образом, совершенно легко. Но тогда, естественно, возникает и следующий вопрос: как будет распределяться нагрузка, если одна из нитей сдвинется от конца, который останется торчать в воздухе? К этому вопросу Леонардо многократно возвращался в записях "Атлантического кодекса". Одна из наиболее простых и, по-видимому, ранних из них гласит:

"Если 2 нити поддерживают стержень за его два конца (рис. 160), то его вес равномерно распределяется между этими нитями.

"Когда же одна из нитей будет передвигаться от конца стержня по направлению к его середине, то отношение между уменьшением веса, облегчающего нить, и остающимся на противоположном конце весом будет таково, каково оно между торчащим концом стержня и той его частью, которая заключена между двумя нитями" (С. А. 138 v. a.).

Не вполне ясное утверждение Леонардо в приведенном отрывке оказывается вполне правильным, если мы под словами "вес, остающийся на противоположном конце", будем понимать, как это делает Шустер, груз, который раньше выдерживала данная нить. Тогда, обозначив (рис. 161) весь вес балки через Р всю длину ее через /, длину передвижения левого подвеса через а, а натяжение неподвижной нити после передвижения подвижной через х, получим формулу Леонардо. Это вполне правильно, так как задача сводится к разложению силы. Р на две параллельные составляющие и есть утверждение Леонардо, в чем легко можно убедиться.

К этой же формуле Леонардо возвращается и в ряде других записей; одна из них дает числовой пример и, до некоторой степени, вскрывает ход его мыслей.

"Между весом, который отделяется от неподвижной нити, и весом, который она раньше выдерживала (где он приложен), будет такое отношение, как между частью стержня, выступающей за одну из нитей, и остатком его, заключенным между 2 нитями.

"То, что выше высказано, легко может быть доказано (рис. 162), так как если ты посмотришь в опыте, приведенном выше, на стержень, выступающий за одну из нитей, то ты найдешь, что он помещается 2 раза в длине стержня, заключающейся между 2 нитями, и так же обстоит с весом, отделяющимся от крайней нити и присоединяющимся к весу движимой нити, так как, когда 2 нити были привязаны на концах стержня в 6 фунтов, то каждая из них выдерживала 3 фунта. Когда же затем одна из нитей передвигается к середине, то ты видишь, что та, которая остается неподвижной, в конце стержня разгружается от половины своего прежнего веса, так как если она вначале выдерживала 3 фунта, то теперь она выдерживает только 1 ?, что составляет 3. И кажется, что природа в этом случае применяет равные движения, так как если движение, производимое нитью от конца стержня к середине, помещается, как видишь, 2 раза в остатке этого стержня, то также и вес неподвижной нити, укрепленной на противоположном конце стержня, прибавляется к весу нити, движущейся к середине стержня, в помещается 2 раза в весе, ранее поддерживаемом ею" (С. А. 101 r.а).

Запись эта, во-первых, делает совершенно бесспорным приведенное выше толкование формулы, даваемой Леонардо; во-вторых, она показывает, что к довольно сложному и искусственному выражению этой формулы Леонардо пришел отнюдь не через освоение закона разложения силы на составляющие, как утверждает Марколонго, а чисто экспериментально. Он, несомненно, подвешивал каждую нить к отдельным весам и следил за изменением веса при передвижении левой нити. Затем, получив ряд значений, он подобрал формулу вида пропорции, связывающей эти значения, — отсюда и искусственность выражения формулы, отсюда и ее правильность. Полученную и рассмотренную выше формулу Леонардо записывает еще в ряде мест (С. А. 101 r. а., 152 v. b., 345 v. а. и др.). Но на ней не заканчиваются его исследования распределения веса подвешенного стержня, — он ставит перед собой еще один вопрос: как передается вес стержня непараллельным подвесам?

Первоначально Леонардо как будто склонен считать, что направление подвеса не играет роли. Так, в одной из ранних записей "Атлантического кодекса" он пишет:

"Эта балка, будучи поддержана равными углами, будет равно поддержана каждой нитью, и хотя одна нить длиннее другой, одна выдерживает такой же вес, как и другая.

"Равные углы, которые образуют линии нитей, поддерживающих балки, с линией балки, этими нитями поддерживаемой, поддерживают в этой балке равный вес (рис. 163).

"Наклонная сила производит то же самое действие в весах, что и перпендикулярная; испытано это в форме, указанной ниже, на натягиваемой медной проволоке" (С. А. 253 r. b).

Дальнейшее экспериментирование приводит, однако, Леонардо к более определенному и более правильному решению вопроса. Как он ведет эксперименты, мы видим из следующей записи:

"Здесь (рис. 164), потому что углы, образуемые нитями с балкой, равны между собой, каждая нить будет поддерживать равную часть веса балки, хотя бы они были подвешены на раз- ных высотах" (С. А. 268 r. а.).

Чертеж, сопровождающий запись, ясно показывает, как Леонардо пришел к этому правильному, но далеко не достаточному результату. Для того же, чтобы подойти к определению изменения нагрузки стержня при изменении угла, образуемого нитью с балкой, Леонардо рассуждает так:

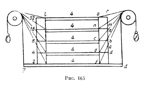
"Вес, т. е. балка. Там, где нить, на которой она подвешена, будет отходить от этой балки под прямыми углами, там эти нити никогда не будут иметь больше веса, чем вес поддержи- ваемой ими балки.

"А когда нити будут отходить от подвешенной на них балки под более острыми углами, тогда они будут поддерживать тем больший вес по сравнению с весом балки, чем острые углы, образованные направлением балки и направлением нити, будут меньше прямых углов (рис. 165).

"Таково будет отношение между весом bf, где поддерживается голова балки dg, и весом там, где будет поддерживаться голова балки sx, каково оно будет между углом s треугольника bds и прямым углом d Текст 
записей здесь не вполне ясен, но смысл их не вызывает сомнений и таким же образом один угол за другим.

"Скажи, например, что балка dg будет равна 4 единицам веса; ясно, что 2 из них попадают в d — прямой угол и 2 из них будут находиться в противовесе f, а затем я хотел бы дать столько веса f, чтобы эта балка поднялась до ol; поступай так: посмотри, сколько раз угол о помещается в прямом углу d; он помещается 16 раз, следовательно 32 единицы веса будут уравновешивать эту голову о" (С. А. 274 r. b.).

Несмотря на то, что некоторые детали чертежа не вполне ясны и буквы на нем спутаны, техника производства эксперимента и результат его вполне ясны. Леонардо находит, что натяжение наклонной нити так относится к натяжению прямой, или что то же самое, к половине веса, как прямой угол относится к острому углу, образуемому нитью с балкой, т. е. искомое натяжение нити. Утверждение это не вполне правильно, т. е. вместо отношения углов фактически должно быть принято во внимание отношение их синусов; но получающаяся разница, очевидно, относилась Леонардо к неточности эксперимента.

Приведенными тремя вопросами и исчерпываются (вообще не слишком многочисленные) записи Леонардо, относящиеся к вопросу распределения веса балки на поддерживающие ее сверху нити. Еще малочисленное записи, близко примыкающие к предыдущим и относящиеся к распределению веса балки на поддерживающие ее снизу опоры. Здесь Леонардо рассматривает две проблемы, параллельные вышеприведенным: как распределяется вес горизонтально лежащей балки между двумя расположенными в разных местах опорами и как распределяется между своими опорами вес балки, один конец которой лежит на земле, а другой оперт о стену, колонну и т. п.

К обеим проблемам Леонардо впервые подходит еще в ранних записях кодекса "А". Так, по первой проблеме он задает себе вопрос:

"Я спрашивай: если брус ее? (рис. 166) весит 300 фунтов, то, сколько из них несет с и сколько несет d?" (A. 2 v.).

Ответа на этот замысловатый вопрос Леонардо, невидимому, еще дать не может, во всяком случае, в кодексе "А" мы напрасно искали бы такого ответа.

Зато в записях "Атлантического кодекса" мы находим и ответ и указание на то, как искал его Леонардо. На листе 268 v. b. мы видим изображение постепенного хода опытов Леонардо но не находим еще решения задачи. Мы видим здесь балку в восемь единиц длины и, по-видимому, веса, подпертую внизу в восьми разных положениях, и на девятой фигуре все эти положения, сведенные воедино; подпись под чертежом гласит:

"Каждая имеет девятую На 
рисунке, как уже сказано, на 8 фигурах делений 8, а на девятой 9, что, впрочем, не играет особой 
роли часть (рис. 28); отними одну из них от головы, и предпоследняя будет иметь 2/9, а противоположная разгружается. Дальше я не распространяюсь, так как этот тонкий предмет требует более тонкого рассмотрения и тщательного размышления" (С. А. 268 v. b.).

Леонардо, таким образом, высказывает только утверждение, что при передвижении опоры внутрь нагрузка ее увеличивается, а нагрузка неподвижной опоры уменьшается, но он ничего не говорит о величинах этих нагрузок, предмете, ему еще не ясном и требующем дополнительной работы. Результатом такой работы является запись листа 316 v. b. того же кодекса, гласящая:

"Пятнадцатое предложение о весе (рис. 167). Опора будет иметь на себе тем меньше веса по сравнению с другой, чем более удалена она будет от центра этого веса — одна по сравнению с другой и (общий вес делается) меньше на вес, выступающий за вторую опору (текст не ясен и восполнен нами).

"Примем, что более удаленная опора будет b, более близкая — а, центр же вышеназванного веса будет k; тогда я утверждаю, что если вес, помещенный на двух опорах, будет равен 8 фунтам, то b будет поддерживать 1, а а — 5. Тут ты мне мог бы сказать, что нехватает 2 для того, чтобы получить вышеназванные 8 фунтов, на что можно ответить и доказать, что на опорах а, b находятся 6 фунтов, из которых 3 приходится на опору a и 3 на b, a 2, а именно sr, выступающие .за опорой а наружу, служат противовесом той части, которая находится между а а и b каковая облегчается на 2 фунта" (С. А. 316 v. b.).

Решение, даваемое здесь Леонардо, совершенно ошибочно. Он здесь имеет дело с тем же разложением веса тела на две параллельные составляющие, как и в случае подвеса балки, для которого он дал правильный ответ. Но он почему-то не замечает идентичности обоих случаев и, не имея возможности экспериментально определить величину давления на опору, предается неубедительным и противоречивым рассуждениям, приводящим его к неправильному результату. Эта ошибка Леонардо, которую он, может быть, где-нибудь позднее исправил (нам такие исправления найти не удалось), вскрывает сильные и слабые стороны его метода не хуже его успехов. В тех случаях, когда он мог в ряде экспериментов более или менее точно измерить при разных условиях величины, связанность которых между собой он стремится определить, он через ряд ошибок, неправильных и неудачных формулировок всегда добивался правильных результатов. Там же, где хотя бы одна из этих величин не поддается точному измерению, он оказывается совершенно беспомощным. Леонардо в первую очередь экспериментатор, а не математик-теоретик.

Подтверждение этому мы находим и во второй решаемой Леонардо задаче на подпертую балку, косо стоящую на земле.

Вопрос о косо стоящей балке (но на двух опорах) возник (как уже выше сказано) перед Леонардо еще в начале его научной Деятельности. Так, в кодексе "А" он ставит перед собой следующий, не получающий ответа вопрос:

"Если брус fg (рис. 168) будет весить 200 фунтов, то какую часть веса будет нести h и какую m?" (А. 2 v.).

Первые попытки дать ответ на этот или, вернее, близкий к этому вопрос мы находим в записях кодекса "В", относящихся к этому же времени, а может быть и несколько более ранних. Очевидно, уже в самом начале своей научно-технической карьеры, в качестве инженера герцога Миланского, Леонардо при постройке укреплений, рытье каналов и проектировании тамбура собора натолкнулся на проблему распределения веса косо стоящего стержня или балки — будь это стрела крана, или осадная лестница, или что-нибудь в этом роде. Довольно подробные записи кодекса "В" возвращаются к данному вопросу неоднократно. Наиболее короткую и, по-видимому, наиболее раннюю запись мы встречаем в самом начале кодекса:

"Я нашел на опыте (io trovo per isperienza), что балка cd (рис. 169) будет настолько уменьшать тяжесть в точке и, насколько велика половина основания треугольника adc, т. е. если балка будет иметь 6 локтей и весить 6 фунтов, а половина основания ad будет иметь один локоть, то я утверждаю, что балка будет отдавать точке d 5 фунтов и один фунт идет на усилие (ne va in forza) в месте, где прислоняется с" (В 14 v.).

Приведенная запись не разъясняет, что следует понимать под опытами, которыми пользовался Леонардо для получения приводимого им решения. Зато запись того же кодекса, непосредственно примыкающая по своему содержанию к изложенной, показывает, какие рассуждения лежат в основе такого утверждения:

"Если ты хочешь знать, сколько веса отдает стержень в 4 фунта и 4 локтя стене ас (рис. 170) и сколько точке е, то поступай так: раздели пополам основание треугольника аес, что дает dc, и столько, сколько эта часть занимает на длине стержня, столько веса остается на стене ас, остальное же идет в е.

"Телу, в котором длина превосходит значительно ширину я глубину, надлежит отдавать большую часть своего веса своей, нижней части, которая опускается от своего горизонта, чем верхней. Но если это тело будет находиться на одном уровне, со своими двумя концами, то необходимо, чтобы его два конца имели равный вес при своем соприкосновении (с опорами)... когда тело будет иметь равную толщину и вес по всей своей длине.

"То тело, общая толщина которого превосходится длиной, должно давать равную нагрузку двум крайним своим точкам соприкосновения, когда они равно отстоят от центра, как fe. Но, когда тело будет расположено по линии перпендикулярной (т. е. вертикальной), то я утверждаю, что соприкосновение нижнего конца примет на себя весь лежащий над ним вес. Верхний we конец не передаст никакого веса противоположному соприкосновению, как это ясно в ge. Но если это тело будет своими двумя концами находиться на разных расстояниях от названного центра, то и вес будет разным, так как часть, наиболее к нему приближающаяся, более нагружается, более же далекая делается более легкой, что явствует в ае. Следовательно, если в первом предложении доказывается, что названный вес делится между двумя своими конечными опорами f и е и также во втором, что нижняя получает все, а верхняя — ничего, то необходимо признать, что по доводам геометрическим и арифметическим тот вес, который находится между одним и другим положением, получает нечто от обоих концов, как ае.

"Если вес ае будет 4 локтя и 8 фунтов и если ты подвесишь его так, чтобы он не был весь в точке е и не разделялся пополам в fe, но, наоборот, находился бы в середине линии fe, т. е. над точкой с, то я, благодаря арифметическим доводам, утверждаю, что если вес, стоя вертикально, отдает нагрузку в 8 фунтов точке е, он, лежа совершенно, отдает ей 4; возьми теперь середину, находящуюся между 4 и 8, т. е. 6, следовательно, точка е есть 6, а ca — есть 2 по силе и весу. И на основании геометрических доводов мы находим, что, если взять основание треугольника асе и разделить его пополам в точке d, то de всегда прибавляется к ае, и также df прибавляется к ed, и также к аb, и также df подобно же к be" (В. 63 r.).

Приведенные две записи чрезвычайно явственно показывают как метод рассуждения Леонардо, так и получаемый им результат. Леонардо применяет рассуждение, которое мы встречаем выше в схоластической механике школы Иордана Неморария и многократно в его собственных доказательствах. Замечая, что нагрузка верхнего конца балки в горизонтальном положении ее равна половине ее веса, а в вертикальном — равна нулю, Леонардо полагает, что в промежуток между этими положениями нагрузка постепенно и равномерно изменяется, т. е. в середине между ними (при угле в 45°) она будет равна четверти веса всей балки и т. п.

Результат же, который выводится из этого рассуждения, может быть сформулирован следующим образом: нагрузка, которую верхний конец балки передает своей опоре, равна весу длины балки, равной половине расстояния нижнего конца ее до вертикали; т. е., если пользоваться ближайшим чертежом, нагрузка в а = весу аb, или, обозначая вес единицы длины балки через k и длину ее через I, нагрузка в а или, в современных обозначениях, нагрузка в а, где ? — угол между балкой и горизонталью. Нагрузка же в е будет равна полному весу балки без нагрузки в а, т. е. нагрузка в е .

Нетрудно убедиться в том, что первое из утверждений Леонардо совершенно правильно, а второе ошибочно. Действительно, если под нагрузкой в а мы будем понимать опорную реакцию в а=х, действующую нормально к оси ае, а под нагрузкой в e — опорную реакцию в е=y, действующую вертикально вниз (из уравнения равновесия), или из равенства моментов и из равенства проекций на ось х. Иными словами, для верхнего конца выражение, данное Леонардо, оказывается правильным, а для нижнего — из общего веса следует вычитать не просто реакцию верхнего, а ее же, помноженную на косинус угла ?.

Несмотря на грубую ошибку в определении величины нижней реакции, вывод Леонардо нельзя не признать в высшей степени замечательным. Правда, как вполне справедливо указывает Шустер, уже третий вариант трактата Иордана Неморария содержит попытку разобраться в вопросе распределения веса наклонно поставленного стержня. И при этом арифметически-геометрический способ доказательства, приводимый Леонардо, несомненно восходит именно к тексту Иордана, только не вполне понятому и упрощенному. Но именно разница подходов, а также самый факт заимствования винчианцем данной, довольно чужеродной в построении Иордана задачи бросают новый луч света на специфику научного творчества Леонардо. С орлиной прозорливостью он замечал во всех, даже наиболее чужеродных научных системах то, что ему нужно было для создания своей системы, имевшей целью помощь технике, и затем вводил этот элемент в свою систему, в корне переделывая его. Из теоретической головоломки он превращает такую осваиваемую им задачу в практически нужную проблему, он отбрасывает сложные и абстрактные геометрические доказательства или же, как в данном случае, сокращает и упрощает их, сохраняя только сущность их для видимости теоретического обоснования. Фактически же он решает задачу наново при помощи эксперимента, который, если только речь идет о легко измеримых величинах, неукоснительно приводит его к правильному результату; последний не тонет у него, как у Иордана, в праздных, хотя, может быть, и остроумных математических рассуждениях, но сразу подхватывается и включается в арсенал орудий техника- ученого. Поэтому для нас представляет особый интерес тот путь, которым Леонардо пришел к своему решению. Мы видели из записи листа 14 v., что он говорит об опыте как источнике этого решения, а из листа 63 r. — что он обосновывает решение "арифметически-геометрическим" рассуждением. Но внимательное рассмотрение последнего убеждает, что из него нельзя было вывести решения, даваемого Леонардо. Действительно, это было бы возможно, если бы горизонтальная проекция балки была пропорциональна углу между ее осью и горизонталью, ибо тогда, при угле в 45°, половина этой проекции была бы равна половине половины длины и, следовательно, веса балки. Но фактически проекция эта пропорциональна косинусу этого угла, а следовательно, все арифметически-геометрическое рассуждение Леонардо не более как обычная для него, и притом неудачная, попытка теоретически обосновать результат, полученный им экспериментально и сведенный в правильную формулу.

Как мы отмечали выше, Леонардо не говорит в записи кодекса "В" (14 v.) о том, при помощи каких экспериментов он пришел к своему решению. Но самая его ошибка дает нам право утверждать почти без риска власть в произвольное толкование, что он подвешивал верхний конец балки к нити, перпендикулярной к ее оси, и затем, перекидывая нить через шкив, нагружал ее весом до наступления равновесия. Поступая таким образом, Леонардо мог вполне точно определить верхнюю опорную реакцию балки. Так как расстояние от нижнего конца балки до вертикали также вполне точно поддавалось измерению, то, пригоняя, как обычно, формулы и проверяя их повторными экспериментами, он, несомненно, должен был притти и действительно пришел к правильному решению. Что же касается реакции нижней опоры, то измерить ее Леонардо не имелетехнической возможности; поэтому он и остановился на решении, казавшемся ему наиболее вероятным, но фактически неправильном.

Что наше предположение соответствует действительности, доказывается несколькими более поздними записями "Атлантического кодекса".

Одна из более ранних записей этого кодекса, наполовину сформулированная еще в виде вопроса, показывает экспериментальную базу, на которой Леонардо искал решения задачи.

"Хотя нити ms и mf (рис. 171) укреплены в т, но, несмотря на это, действуют (fanno forza) так же, как если бы они были укреплены в рычаге такой длины, которая была бы (равна) прямой, соединяющей (их направление) с центром под равными углами.

"Я спрашиваю, сколько веса в а и сколько в b" (С. А. 75)

Запись эта, носящая чисто черновой, предварительный характер, служит как бы подготовкой к несравненно более отделанной записи другого листа того же кодекса, подробно разбирающего тот же вопрос. Запись эта гласит:

"Так следует взвешивать вне прямых углов, т. е. линия нити в линия балки должны быть устроены таким образом (рис. 173):

"Если балка, привязанная нитью, будет весить 4 единицы веса, а ты помнишь, что, по правилу пятого предложения, если n находится под головой балки и эта голова подвешена на нити под прямым углом сходящейся с линией этой балки, то эта голова не будет весить больше одной единицы веса и 3 будет весить другая голова. Теперь нужно заключить, что эта нить, находящаяся под прямым углом к этой балке, испытывает и показывает просто вес головы ее, а так как она весит одну единицу, то проведи линию нити, поддерживающей балку, т. е. ас, и затем посмотри, сколько раз расстояние bт помещается в тc. Получается, что 2 раза, следовательно, 2 единицы веса в г, будут уравновешиваться с и, следовательно, если балка весит 4 единицы веса, ее нога получает их и 2 единицы веса r, которые получает противовес" (С. А. 149 v. a).

В этой записи мы видим отражение реального опыта, произведенного Леонардо. Ввиду того, что в равновесии устанавливалась, очевидно, балка значительных размеров, оказалось неудобным прикреплять к ней нить под прямым углом. Поэтому он прикрепляет ее под острым углом, в данном эксперименте равным 30°. Установив так балку и исходя из своей теории других кругах половины каждой из линий подобных rs и рычага как ag.

"Если линия тn (рис. 175 — деталь рис. 174) помещается 50 раз во всей длине балки и балка эта весит 4 веса, и 2 из них весит голова о, то 100 весов должны быть приложены в противовесе r, для того чтобы уравновешивать 2 в о В этом случае, по-видимому, надо предполагать, что конец лежит на 
горизонтальной поверхности.

"Та линия, которая выходит из ноги балки и будет составлять прямые углы с нитью, находящейся между тянущим и концом тащимой балки, будет истинной длиной рычага и будет сдвигать стержень с его места. Чем больше раз линия, под равными углами отходящая от нити, тянущейся между концом тащимого стержня и руками тянущего, помещается по длине в тащимом стержне, тем больше силы должен проявить тащащий по сравнению с весом головы этого стержня" (С. А. 253 v. a.).

Легко убедиться, что в приведенной (как и в ряде других близких к ней) записи мы имеем тот же разобранный выше способ определения натяжения нити, под углом поднимающей балку, который исходит из правильного определения реакции верхней опоры, выведенного Леонардо.

Иначе подходит Леонардо к тому же вопросу в наиболее, невидимому, поздней записи "Кодекса Арундель", очень путаной и неясной, но и весьма характерной. Запись эта показывает, что Леонардо, вполне удовлетворенный найденным им, действительно правильным методом определения верхней реакции балки, чувствует неудовлетворительность своего неправильного метода определения ее нижней реакции. При этом он рассматривает вопрос с разных сторон, рассуждает разнообразнейшими способами, но, не имея возможности проверить результаты своих рассуждений на опыте, не может добиться правильного решения вопроса. Запись "Кодекса Арундель" звучит так:

"В а (рис. 176) имеется вес е и сопротивляющийся ему вес т, равный половине е. Следовательно, в а чувствуется 3 раза вес т, так как е, находясь в таком положении, весит половину в а и вторую половину по направлению к d. Половине (действующей по направлению к d) сопротивляется т с таким же весом, второй же половине сопротивляется а. Следовательно, заключаем, что а нагружается тремя весами, равными т, т. е. половине о, и вторая половина ее противовесом т, каковой ему равен (?).

"В т также находится 3 раза вес g, так как в этом т находится половина веса n, как сказано выше. Затем т оказывается точкой подвеса весов, помещенных между двумя силами (p), т.е. силон половины n, желающей итти в s, и сопротивлением g, не дающим спускаться к этому s.

"Следовательно, доказано, что то же самое действие будет, если привязать нить he в е, как и если привязать нить ho в о. Чтобы сказать лучше: рычаг от есть четверть противорычага nm. Два фунта в g сопротивляются одной ? в n, отчего т чувствует 2 от g, ? от n и вторую половину, нагружающуюся в т, спускаясь из ? n. И вот фунт с половиной силы в n против 2 в g, но точка подвеса р не чувствует силы потому, что она не весит" (Аr. 8r.).

Несмотря на все попытки, нам не удалось добраться до однозначного толкования приведенного текста. По всей вероятности он его и не допускает, так как мы имеем дело с записью получернового характера, в которой проявляется процесс работы Леонардо над решением задачи, а не готовое решение. Действительно, из всего текста как будто следует, что нижняя реакция стоящей балки равна противовесу, удерживающему балку в равновесии, умноженному на три. Это объясняется тем, что нижний конец а выдерживает вес т, затем половину веса е, идущую по нити, и такую же величину, сопротивляющуюся ей в нити. А так как, по предположению первого абзаца, т равно половине е, то сумма всех нагрузок в а и будет равна 3 т. И предположение, что т и вывод совершенно неправильны и непонятны, особенно после того, как Леонардо в ряде вышерассмотренных записей вполне четко сформулировал, что т будет во столько раз больше е, во сколько его рычаг оа меньше рычага — длины балки ае. Но Леонардо в данном решении, очевидно, не принял в расчет этого правила для определения верхней реакции. Он стремится определить нижнюю и берет первое попавшееся удобное соотношение между т и е, не замечая, что оно лишает его решение какой бы то ни было убедительности. На этом примере мы еще раз видим, как неуверенно чувствует себя Леонардо, не имея в руках путеводной нити эксперимента, как неизбежно и глубоко он ошибается, пользуясь только математическими доказательствами, никогда не бывшими сильной стороной его научного творчества.

Предыдущая страницаСледующая страница